Description
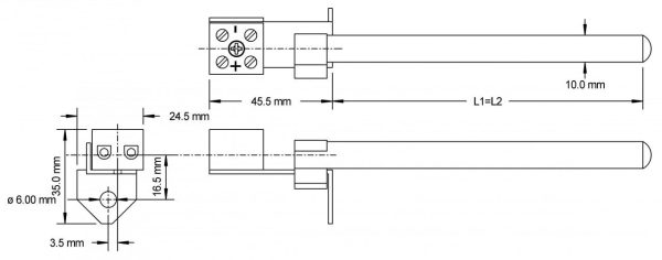
P Bracket – R Type – 115mm
R-type open head thermocouple for fastening inside the kiln’s electric box with the ceramic sheath going through the kiln wall.
Comes with a 10mm diameter x 115mm ceramic sheath with a P shaped bracket for fastening to the kiln wall inside the electric box.
P Bracket thermocouples are used by many European and UK manufacturers – some using R type and some using S type – Rohde and Nabertherm use S type.
See drawing of overall dimensions





